Belimo SFA rugóvisszatérítéses zsalumozgató, 24-240 V (20 Nm; 4 m²-ig)
211 386 Ft /darab
Nettó ár: 166 446 Ft /darab
- Szállítási idő: 3 - 5 hét
- Cikkszám: K080514001000


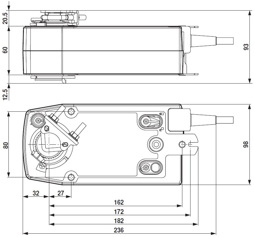
_befog%C3%A1si_tartomany.jpg)
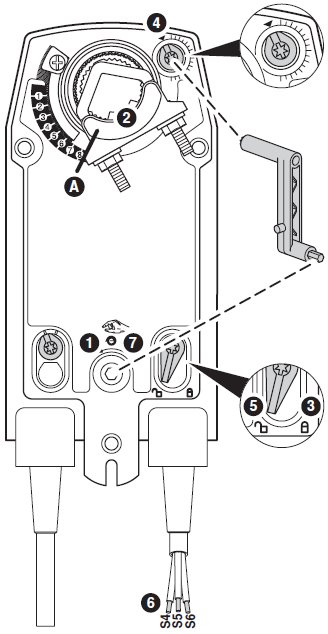
_Segedkapcsolok_beallitasa.jpg)